拖动logo到书签栏,立即收藏飞跨浏览器
首页
HOT
浏览器
飞跨浏览器
HOT
为店铺提供纯净、安全、独立管理环境
产品介绍
立即购买
相关应用
RPA自动化
重复工作自动化,解放时间
插件中心
让店铺管理更加方便高效
核心功能
多平台安全管理
店铺安全
店铺独立环境,多平台管理更安全
账密安全
自动代填,避免密码泄露风险
操作安全
多处提醒,避免店铺风险操作
权限管控
团队协同管理
灵活授权,协作高效更可控
访问控制
限制成员在浏览器的可访问范围
操作追溯
实时记录,操作访问永久留痕
设备多样
海量线路
全球200多个城市线路自由选择
设备类型多样
多种设备类型,适应多样需求
自有设备导入
支持自有VPS和网络环境的导入
全球加速
HOT
专有线路加速,访问速度更快
高效运营
自动二步验证
HOT
自动提交二步验证,安全便捷
续费托管
到期自动续费,无需人工管理
一键翻译
HOT
浏览器原生翻译,全网络类型均可用
店铺迁移
旧环境信息一键同步迁移
NEW
店数BI
全球开店
生态应用
提效工具
RPA自动化
短信助手
飞跨生态
插件中心
飞跨导航
飞跨动态
线下活动
查看
产品更新
查看
热点资讯
聚焦跨境电商行业热门资讯和深度解读
跨境百科
新手必看的一站式跨境知识和出海指南
帮助与支持
帮助中心
关于我们
联系我们
立即下载
注册/登录
首页
目录
{{ node.label }}
文档中心
>
监控中心
>
如何使用亚马逊店铺上新监控
如何使用亚马逊店铺上新监控
更新时间:2025-06-25 13:46
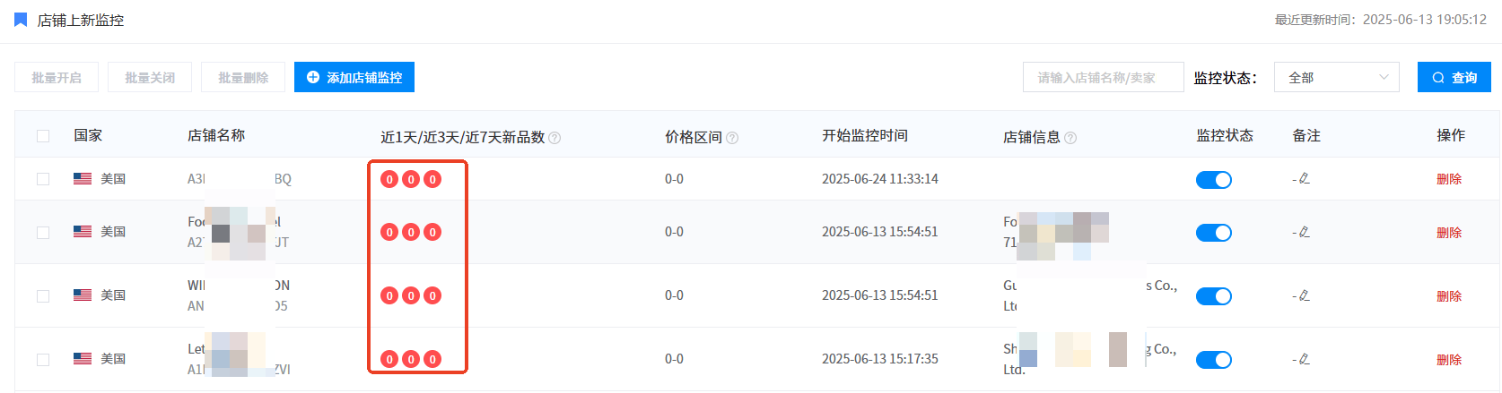
## 1 功能介绍 店铺上新监控功能可以为您监控竞店每日上新情况,帮助卖家及时对自己的店铺商品进行调整,助力卖家抢占市场。 ## 2 使用步骤 ### 2.1 上新监控列表 1.点击【监控中心】-【店铺上新监控】,点击 【添加店铺监控】 ,快速查询店铺近1/3/7天内上新产品数;  2.添加店铺监控,输入店铺ID(如果您不知道如何获取店铺ID,请参照下文2.3),点击【确定】,即添加店铺到监控列表;  3.可开启/关闭监控状态,添加备注,删除,筛选等操作。 ### 2.2 上新监控详情页 1.点击上新数的圆圈数字,可到【上新监控详情页】;  2.在详情页可以对商品进行监控,添加商品监控、设置开启/关闭、删除等。  ### 2.3 如何获取亚马逊店铺ID 1.在目标店铺任意产品的Listing页面,点击Sold By处的店铺名称,进入店铺页面;  2.URL中的 “Seller=” 后面(图中红框)的就是店铺ID。  ## 3 常见问题 ### Q1 :上新监控更新频率? 1天/次。 ### Q2 :是否能获取到商品实际上架时间? 目前暂不支持获取商品真实上架时间。
上一篇
了解什么是商品监控
下一篇 没有了
大纲
分享页面
扫码添加专属客服
购买向导
扫码联系值班客服
点击立即咨询
常见问题
扫码关注公众号